Home Contact Us
  Products List
Contact Us
 



Add: Room 1204,Tiantong nan road 577-39#,Yinzhou district,Ningbo 315100,China
Tel: +86-574-88189478  
E-mail:nord05@nord-foundry.com


         nord@cnool.net

         admin@nord-foundry.com


Welcom to E-Series
These E-series teeth parts are customer required.We have all these molds to manufacture.Below are some information for your reference.And we have attached recent part No. and original part No. If you need such of these parts,pls feel free to contact us.

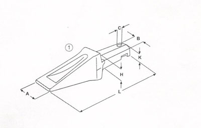
E170.1/3031336-35101 Bucket Tooth

E170.1/3031336-35101 Bucket Tooth


  Part   Number

Original Part Number

   Figure             Dimention       

    Weight(KG)

L    A B H K C
E150.1 4044336-31101 1 340 80 41 44 28 15 5.4
E155.1 4044428-32102 1 407 90 49 52 35 15 8.9
E160.1 3031334-33101 1 483 100 55 58 45 24 13.5
E165.1 3031335-34101 1 545 110 62 64 50 24 18.1
E170.1 3031336-35101 1 595 125 73 75 55 26 26.1

Forging
Forged-part Open Die forging Hot forging Heavy forging Steel forging Alloy Steel Forging Carbon Steel Forging Stainless Steel Forging Forging flange Forging shaft Forging ring Forging Bushing forging Roller Forging Cylinder forging wheel Forging valve Closed die forging Precision Forging Motorcycle aluminum forged spare parts Spindle forging Drop forging Hydraulic Breaker Parts Forging Breaker Chisel Hydraulic Rock Breaker Hammer moil points chisels Forging Moil Point die forge Shifting fork Forging Mining Bits Aluminum die forging automation products C-clamp-clip Wagon yoke
Welding-parts
Welding Fabrication Excavator Bucket Stamping Parts Welding Structure Steel Weldment Excavator Undercarriage Truck frame
Machinery
CNC Machining parts Metal Machining parts Machining part Die casting part machining Aluminium alloy casting-Machining Copper casting forging parts Train parts machining Zinc alloy casting Precision machining part Power Steering Gears
Casting parts
Valve Gate valve Stop Valve-Shutoff Valve Butterfly gate Ball valve-Globe Valve Check Valve Reducing Valve Drain valve-Steam trap Plug valve-Cock Valve Relief Valve Flow Regulators Control Valve Pressure Regulator-Relieving Regulator Supply Valve Explosion Proof gas regulator Volume Pressure Booster Auto parts Train parts Truck parts Agricultural machinery parts Centre plate Tractor parts Farm Harrows-Plow-Furrow plough Bucket tooth Mining Machinery Parts Sprocket Gear Post-Tensioning System
Hydraulic Breaker Parts
drill rod hydraulic breaker piston
Bucket tooth
Caterpillar Komatsu Esco HL E-Series Volvo JCB Daewoo Hensley Liebherr Hyundai Kobelco Hitachi bucket teeth-001 bucket teeth-002 bucket teeth-003 Bucket teeth-004 bucket teeth-005 bucket teeth-06 bucket teeth-007 bucket teeth-008 bucket teeth-009 bucket teeth-010 bucket teeth-011 bucket teeth-012 Bucket teeth-013 Bucket tooth-014 Bucket tooth-015 Bucket tooth-016 Bucket tooth-017 Bucket tooth-018 Bucket tooth-019 Bucket tooth-020 Bucket tooth-021 Bucket tooth-022 Bucket tooth-023 Bucket tooth-024 Bucket tooth-025 Bucket tooth-026 Bucket tooth-027 Bucket tooth-028 Bucket tooth-029 Bucket tooth-030 Bucket tooth-031 Bucket tooth-032 Bucket tooth-033 Bucket tooth-034 Bucket tooth-035 Bucket tooth-036 Bucket tooth-037 Bucket tooth-038 Bucket tooth-039 Bucket tooth-040 Bucket tooth-041 Bucket tooth-042 Bucket tooth-043 Bucket tooth-044 Bucket tooth-045 Bucket tooth-046 Bucket tooth-047 Bucket tooth-048
Pallet Fork
Pallet Forks Forklift forks shaft type forks hook type forks Pallet Forks-01 Pallet Forks-02 Pallet Forks-03 Pallet Forks-04 Pallet Forks-05 Pallet Forks-06 Pallet Forks-07 Pallet Forks-08 Pallet Forks-09 Pallet Forks-10 Pallet Forks-11 Forklift Fork-01 Forklift Fork-02 Forklift Fork-03 Forklift Fork-04 Forklift Fork-05 Forklift Fork-06 Forklift Fork-07 Forklift Fork-08 Forklift Fork-09 Forklift Fork-10 Forklift Fork-11 Forklift Fork-12
Foundry
Foundry part - 101 Foundry part - 102 Foundry part - 103 Foundry part - 104 Foundry part - 105 Foundry part - 106 Foundry part - 107 Foundry part - 108 Foundry part - 109 Foundry part - 110 Foundry part - 111 Foundry part - 112 Foundry part - 113 Foundry part - 114 Foundry part - 115 Foundry part - 116 Foundry part - 117 Foundry part - 118 Foundry part - 119 Foundry part - 120 Foundry part - 121 Foundry part - 122 Foundry-part - 123 Foundry part - 124 Foundry part - 125 Foundry par t- 126 Foundry part - 127 Foundry part - 128 Foundry part - 129 Foundry part - 130 Foundry part - 131 Foundry part - 132 Foundry part - 133 Foundry part - 134 Foundry part - 135 Foundry part - 136 Foundry part - 137 Foundry part - 138 Foundry part - 139 Foundry part - 140 Foundry part - 141 Foundry part - 142 Foundry part - 143 Foundry part - 144 Foundry part - 145 Foundry part - 146 Foundry part - 147 Foundry part - 148 Foundry part - 149 Foundry part - 150 Foundry part - 151 Foundry part - 152 Foundry part - 153 Foundry part - 154 Foundry part - 155 Foundry part - 156 Foundry part - 157 Foundry part - 158
Investment Castings
Investment casting part-01 Investment casting part-02 Investment casting part-03 Investment casting part-04 Investment casting part-05 Investment casting part-06 Investment casting part-07 Investment casting part-08 Investment casting part-09 Investment casting part-10 Investment casting part-11 Investment casting part-12 Investment casting part-13 Investment casting part-14 Investment casting part-16 Investment casting part-17 Investment casting part-18 Investment casting part-19 Investment casting part-20 Investment casting part-21 Investment casting part-22 Investment casting part-23 Investment casting part-24 Investment casting part-25 Investment casting part-26 Investment casting part-27 Investment casting part-28 Investment casting part-29 Investment casting part-30 Investment casting part-31 Investment casting part-32 Investment casting part-33 Investment casting part-34 Investment casting part-35 Investment casting part-36 Investment casting part-37 Investment casting part-39 Investment casting part-40 Investment casting part-41 Investment casting part-42 Investment casting part-43 Investment casting part-44 Investment casting part-45 Investment casting part-46 Investment casting part-47 Investment casting part-48 Investment casting part-49 Investment casting part-50 Investment casting part-51 Investment casting part-53 Investment casting part-54 Investment casting part-55 Investment casting part-56 Investment casting part-57
Steel casting
Steel casting parts-01 Steel casting parts-02 Steel casting parts-03 Steel casting parts-04 Steel casting parts-05 Steel casting parts-06 Steel casting parts-07 Steel casting parts-08 Steel casting parts-09 Steel casting parts-10 Steel casting parts-11 Steel casting parts-12 Steel casting parts-13 Steel casting parts-14 Steel casting parts-15 Steel casting parts-16 Steel casting parts-17 Steel casting parts-18 Steel casting parts-19 Steel casting parts-20 Steel casting parts-21 Steel casting parts-22 Steel casting parts-23 Steel casting parts-24 Steel casting parts-25 Steel casting parts-26 Steel casting parts-27 Steel casting parts-28 Steel casting parts-29 Steel casting parts-30 Steel casting parts-31 Steel casting parts-32 Steel casting parts-33 Steel casting parts-34
Chinese Foundry
Foundry parts-01 Foundry parts-02 Foundry parts-03 Foundry parts-04 Foundry parts-05 Foundry parts-06 Foundry parts-07 Foundry parts-08 Foundry parts-09 Foundry parts-10 Foundry parts-11 Foundry parts-12 Foundry parts-13 Foundry parts-14 Foundry parts-15 Foundry parts-16 Foundry parts-17 Foundry parts-18 Foundry parts-19 Foundry parts-20 Foundry parts-21 Foundry parts-22 Foundry parts-23 Foundry parts-24 Foundry parts-25 Foundry parts-26 Foundry parts-27 Foundry parts-28 Foundry parts-29 Foundry parts-30 Foundry parts-31 Foundry parts-32 Foundry parts-33 Foundry parts-34 Foundry parts-35 Foundry parts-36 Foundry parts-37 Foundry parts-38 Foundry parts-39 Foundry parts-40 Foundry parts-41 Foundry parts-42 Foundry parts-43 Foundry parts-44 Foundry parts-45
Chinese Investment casting
Investment casting part-61 Investment casting part-62 Investment casting part-63 Investment casting part-64 Investment-casting part-65 Investment casting part-66 Investment casting part-67 Investment casting part-68 Investment casting part-69 Investment casting part-70 Investment casting part-71 Investment casting part-72 Investment casting part-73 Investment casting part-74 Investment casting part-75 Investment casting part-76 Investment casting part-77 Investment casting part-78 Investment casting part-79 Investment casting part-80 Investment casting part-81 Investment casting part-82 Investment casting part-83 Investment casting part-84 Investment casting part-85
Forging in china
Forging parts-01 Forging parts-02 Forging parts-03
Precision Castings
Precision casting parts-01 Precision casting parts-02 Precision casting parts-03 Precision casting parts-04 Precision casting parts-05 Precision casting parts-06 Precision casting parts-07 Precision casting parts-08 Precision casting parts-09 Precision casting parts-10 Precision casting parts-11 Precision casting parts-28 Precision casting parts-29 Precision casting parts-30 Precision casting parts-31 Precision casting parts-32 Precision casting parts-33 Precision casting parts-34 Precision casting parts-35 Precision casting parts-36 Precision casting parts-37 Precision casting parts-38 Precision casting parts-39 Precision casting parts-40 Precision casting parts-41 Precision casting parts-42 Precision casting parts-43 Precision casting parts-44 Precision casting parts-45 Precision casting parts-46 Precision casting parts-47
Copper Foundry
Copper parts - 01 Copper parts - 02 Copper parts - 03 Copper parts - 04 Copper parts - 05 Copper parts - 06 Copper parts - 07 Copper parts - 08 Copper parts - 09 Copper parts - 10 Copper parts - 11 Copper parts - 12
Casting
railroad maintenance equipment parts Investment casting Precision casting Lost wax casting Water glass casting garbage truck castings Silica sol casting Part Lost Foam casting part Building anchorage overhead conveyor line parts Steel Casting Sand casting Carbon steel casting Alloy steel casting Stainless steel casting High Cr iron Casting Ductile iron casting grout coupler pipe foundation castings Grey iron casting steam trap valve Resin Sand Casting Railway Wheels motor timing belt pulley Anti-wear steel sugarcane shredder hammer Anti-wear iron Stoker Grate Parts C-clamp casting casting tractor suitcase weights Sickle Mower Guard forestry equipment castings Engine Rocker Arms Top Cup For Cuplock Scaffoldding Anchor casting hydraulic clevis Stainless steel Tension rod

Trade Dept Add: Room 1204, Tiantong nan road 577-39#, Yinzhou District, Ningbo 315100, China
Tel:086-574-88189478 ; Email: nord05@nord-foundry.com nord@cnool.net admin@nord-foundry.com